Application and properties:
|
![]() |
Application and properties:
- each variant available in 5 colors
- high-quality profile set for finishing and protecting the edge of stairs• easy to assemble
- Quest® Stair System - a patented set of PVC profiles
- made of a special PVC mixture• creates an aesthetic finish of the steps,
- protects the edges and sides of steps against mechanical damage
- protects against stains and dirt during washing and use
- protects against slipping and falling - the corrugated part of the slat ensures safe use of the stairs
- does not contain harmful compounds for humans and animals
- aesthetic appearance and a wide range of colors
- highly flexible product - "shape memory"
- no maintenance required
- over 20 years of experience in the production of stair profiles
- solid packaging - safe transport
INSTALLATION - Instructions
- assembly should take place at room temperature. In case of low temperatures, the profiles should be heated before installation using warm air or water
- clean and align the surfaces and sides of the stairs
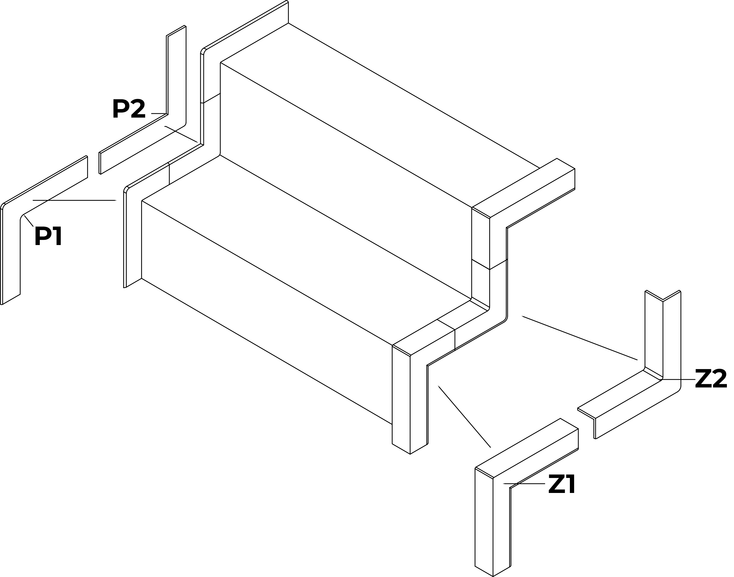
- installation of wall profiles - P1, P2
- assembly of the wall system strip LP if the stage turns out to be long enough that the angles P1 and P2 do not touch each other
- assembly of the cladding on the risers
- mounting the stair nosing - applies to RD, PMW
- assembly of the cladding on the riser
- mounting the stair nosing - for RDP
- assembly of external elements of the Z1, Z2 system
- installation of a LZ angled corner bar if the step proves to be long enough that the Z1 and Z2 angles do not touch each other
Notes:
- cut the profile to the exact length using a QUEST® knife or shears
- apply assembly glue according to glue manufacturer's instructions or use QUEST® adhesive tape
- elements Z1, Z2, P1, P2, LP and LZ - glue on the whole surface
- stair nosings PMW, RD, RGP - glue on the entire surface of the upper nose (do not stick the vertical lip to the degree)
- press firmly to the step and allow the glue to dry
- when using the QUEST® adhesive tape, the steps can be used after 3 hours.
| SKU | Z1-SZARY |
|---|---|
| EAN | 5905548222233 |
| Model | Z1 |
| Weight | 0.146000 |
| J.M. | pcs |
| Safety instructions | SAFETY |
| Manufacturer | Quest Profile sp. z o.o., ul. PRZYLEP-ZAKŁADOWA 5, 66-015 ZIELONA GÓRA, PL9291598862, [email protected] |
| Color | grey |
| fluorescent | No |
| Made of | PVC |
| UV resistance | Yes |
ASSEMBLY - QUEST® adhesive tape
Ideal for mounting profiles on stairs, versatile, double-sided reinforced adhesive tape. It is used in fast and durable bonding of floor, building and finishing profiles, linings, roofing membranes and other for concrete, wood, metal, ceramics and especially difficult surfaces such as foams, felts, EPDM, PVC, rubber or bitumen. The so-called "permanently alive" glue retains its properties for many years, extremely resistant to moisture and aging.[ view product ]
![]() |
![]() |
ASSEMBLY - Straight and angled cutting shears
Specialized steel shears of high quality, for precise straight cutting and for materials made of plastic, wood, rubber and others. They are used especially for cutting finishing profiles, window profiles, construction, gaskets and garden hoses. The special flat engraved stand has marked basic 45, 60, 75, 90, 105 and 120 degrees cut. For comfort and safety, the handle is covered with a pleasant to the touch material. [ view product ]
![]() |
![]() |
PAYMENT METHODS
At QUEST®, we focus on proven and safe payment methods, thanks to which you can pay for your order quickly and hassle-free. Check what options are available in the store and choose the one that suits you best.


PAYPAL
If you have a PayPal account with a credit/debit card or bank account linked to it, you can use PayPal to pay quickly. Select this option, log in, and then review the automatically provided order details, including your seller name and order amount. Confirm your payment and that's it.


STRIPE
Take advantage of a global platform that offers various payment methods - including credit and debit cards, digital wallets, as well as payment methods dedicated to your country or region. You choose which option suits you best, and then, thanks to clear instructions, you can quickly and safely complete the order transaction.


LINK – FAST PAYMENTS
Once you save your payment details once, your card, address and phone number will be added automatically. You can view your order details before confirming your purchase.




CREDIT CARD
Make payment for your order by credit or debit card. Just enter the data found on it (card number, expiry date, CVV/CVC code) and the payment will be automatically finalized immediately after authorization. It's a convenient and quick way because you don't have to log in or register anywhere.


KLARNA
Buy now, pay later! Choose this payment method if you want to have more time to pay for your order (up to 30 days!) or you prefer to divide the repayment into convenient installments (3 installments completely free of charge). No additional costs, flexible and safe. You have everything under control because you will receive a special reminder when the payment deadline approaches.


APPLE PAY
You can make payments easily and safely if you use Apple devices. Just use the option of adding your payment card to Apple Wallet (you only need to do it once) and select Apple Pay when finalizing your purchases. Using Touch ID, Face ID or password, you authorize the transaction and that's it.


GOOGLE PAY
A payment method created by Google that allows you to pay for your order simply and conveniently. All you need is an Android device and this option will appear in your cart. You log in to your Google account and select the payment card assigned to Google Pay (or add a new one). Then you confirm the details related to the order, authorize the payment and the order is paid.


BANK TRANSFER
Make a bank transfer using the details below.
SYNTIOS sp. z o.o.
ul. Przylep - Zakładowa 5
66-015 Zielona Góra
PL85 1090 1535 0000 0001 5133 3243
KOD/BIC/SWIFT: WBKPPLPP
Transfer title: order number
The parcel will be sent to you immediately after the payment is received.
✉️ [email protected]
Write if you have any questions about payment or any problem occurs. Our customer service office will be happy to help you.
DELIVERY
At QUEST®, we make sure that your order reaches you quickly and safely. Typically, shipping takes place within 24 hours of receiving payment or selecting payment on delivery. We only use proven delivery methods, and each parcel is insured, so you don't have to worry about anything. Below you can check what delivery methods are available in the store, as well as how to easily track your shipment.
DELIVERY METHODS


DHL
It offers flexible and fast delivery tailored to individual customer needs. It reaches both large and smaller towns.


GLS
Choose flexible courier delivery, including both domestic and international shipments. Specify the address where the shipment is to be delivered and enjoy fast and safe delivery of your order.


DPD
Take advantage of DPD delivery – a fast and secure solution that ensures your package arrives smoothly and without any problems. In addition, you can track your shipment at every stage of delivery to always know where it is.
Please note that some products, for example due to their dimensions, cannot be shipped using all of the above delivery methods. If such a product is in your cart, only the options that are suitable and safe for it will be displayed.
SHIPPING TIME
The fast shipping of your order is our priority.
- orders placed on working days are normally shipped within 24 hours after payment confirmation or selecting cash on delivery
- weekends and public holidays are not included in the shipping time
- for large orders that require production, the shipping time may be extended – our customer service manager will inform you, and the transaction will be completed as soon as possible
PRICE LIST AND DELIVERY TIME
| DELIVERY METHOD | ESTIMATED DELIVERY TIME | DELIVERY COST |
| DHL | 4 business days | 8.99 € |
| GLS | 4 business days | 12.00 € |
| DPD | 4 business days | from 5.85 € |
Please note that the final delivery cost depends, among other factors, on the weight and dimensions of the products. Once you add the items to the cart, the system will automatically display the available options along with the exact delivery price, adjusted to the contents of your order.
TRACK YOUR SHIPMENT


When we ship your order, you will receive an email with the tracking number and an option to track it. You can also track the shipment directly on the carriers' websites using the buttons below.
If the information on the couriers's website is unclear, please contact our customer service: [email protected]
Angular external element Z1, grey
incl. Tax
Estimated transport time: 2-4 working days
The element of the Quest® System Stair system, improves the aesthetics and the ability to care for cleanliness within the stairs.
dimensions:
Inner length - 15 cm
The width of the element - 4 cm
External length - 19 cm
Thickness of plastic - 4 mm
Become a B2B Partner
Join QUEST® PRO. We’ll prepare a tailored offer for you, provide samples, and your dedicated sales advisor will recommend the optimal solutions that open up new opportunities for your business and put you ahead of the competition.











